Альтернативные источники энергии возможно, это свойства НЛО?
Улетим ли мы в космос на куске магнита со скоростью света?..
Гравитационный эффект Серла
В 1946 году Джон Серл обнаружил, что добавление небольшой компоненты переменного тока (~100 ма) радиочастоты (~10 МГц) в процесс изготовления постоянных ферритовых магнитов придает им новые и неожиданные свойства.
Первый набор таких магнитов, изготовленных Серлом, состоял из двух образцов - каждый размерами 100 х 10 х 10 мм, и двух роликов. Один ролик был сделан в виде цилиндра (~10 мм), а второй состоял из нескольких (~5) колец (внешним диаметром ~20 мм). Все эти образцы были намагничены по открытому исследователем методу.
Сложенные вместе магниты (см. схему выше) начинают взаимодействовать. Если магнит А медленно перемещать с помощью внешнего воздействия по направлению к правому углу магнита С (1) и слегка подтолкнуть вокруг него, магнит А приобретет значительную скорость, перекатится через левый угол и продолжит свое движение по этой стороне магнита С (3), пока не достигнет крайней точки (4). В тот момент, когда магнит А начинает движение от правого угла, магнит В внезапно начинает двигаться, разгоняется до высокой скорости, перекрывается через нижние левый и правый углы и продолжает движение по правой стороне магнита С (3), пока также не достигнет крайней точки (4). После того, как магниты пройдут через крайние точки, они синхронно колеблются (с периодом ~10 ms), пока не остановятся в своих новых положениях (5).
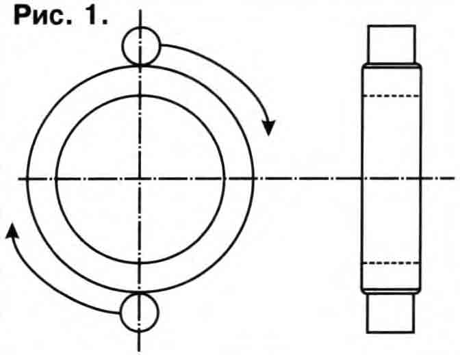
Далее Серл заменил прямоугольный магнит кольцевым, расположив ролики по внешней окружности (рис.1). В такой конструкции он получил тот же эффект, т.е. если одному ролику придать небольшое движение, остальные также начинают внезапно двигаться в том же направлении.
Но! Если количество роликов, расположенных по окружности, составляет конкретное минимальное число (какое именно - неизвестно), то они приходят в самостоятельное вращение, увеличивая скорость до тех пор, пока не придут в динамическое равновесие. Устройство во время вращения производит электростатическую разность потенциалов в радиальном направлении между кольцом и роликами. Неподвижное кольцо заряжается положительно, а ролики - отрицательно (рис. 2). Зазоры, образованные в результате взаимодействия магнитов и центробежной силы, предотвращают механический и гальванический контакт между роликами и кольцом.
Добавив неподвижный С-образный электромагнит, Серл получил устройство, производящее электроэнергию ~100 Вт (рис. 3). Им было изготовлено несколько маленьких генераторов, а в 1952 году построено устройство с несколькими кольцами. Его диаметр - около 1 метра, состоял из колец, поделенных на сегменты, с электромагнитами, установленными по периферии. Каждое кольцо - из магнитных сегментов, разделенных промежутками. Генератор испытывали на открытом воздухе и приводился в движение небольшим двигателем. Он производил необычно высокий электростатический потенциал порядка 1 млн. вольт, что проявлялось как статические эффекты вблизи генератора и подтверждалось характерным потрескиванием и запахом озона.
Затем генератор, не переставая вращаться, стал подниматься вверх, отсоединился от двигателя и взмыл на высоту около 17 метров. Здесь он немного задержался, разгоняясь все больше, и стал испускать вокруг себя розовое свечение. Происходила ионизация воздуха при очень низком давлении. Далее также последовал интересный эффект - произошло самовольное включение расположенных рядом радиоприемников, очевидно, ввиду электромагнитного излучения в результате разрядов. Потом генератор разогнался до фантастической скорости и скрылся из вида, вероятнее всего - отправился в космос.
В 1952 году Серл со своими сотрудниками изготовил и испытал более 10 генераторов, один из них был дисковидной формы ~10 м в диаметре.
Впоследствии исследователь дал некоторые объяснения принципа работы своего генератора. В процессе намагничивания к постоянному току добавляется небольшой переменный ток (~100 ма) радиочастоты (~10 МГц). Для намагничивания нужно как минимум 180 ампер-витков. Все магниты в одном генераторе должны быть намагничены одновременно. Изготовленные магниты имеют тенденцию временно изменять свои свойства при попадании в поле других магнитов. Однако через несколько минут после того, как внешнее воздействие снято, магниты восстанавливают свойства. Указал Серл и на возможность управлять поведением генератора путем намагничивания лишь одного маленького кольца с различной частотой. Он мог сделать генератор, зависимый от температуры таким образом, что он работал при температуре выше определенной (-50°С), но ниже точки Кюри. Внутреннее магнитное поле роликов и колец расположено в основном вдоль осей. Материал: феррит или магнитная керамика. Измерения, проведенные Серлом, показали, что отношение мощности к массе генератора из одного кольца равно 180 кВт/т и зависит от воздействия гравитационного поля Земли.
Преобразователь энергии
Теперь рассмотрим устройство для выработки механической энергии, предложенное российскими исследователями Владимиром Рощиным и Сергеем Годиным (патент РФ 2155435). На рис. 4 представлено совместное расположение статора 1 и элементов ротора - роликов 2. Их взаимодействие осуществляется посредством поперечных магнитных вставок на статоре и роторе по принципу шестеричного зацепления. Между поверхностью статора и роликами оставлен воздушный зазор величиной около 1 мм.
Статор и ролики обернуты сплошным слоем меди толщиной 0,8 мм, имеющим электрический контакт с магнитами статора и роликов. Расстояние между вставками на роликах и статоре находится в определенной зависимости, необходимой для возникновения критического режима.
Диаметр статора и ротора выбирается таким образом, чтобы отношение их диаметров было целое число, кратное и большее 4. Это одно из условий достижения резонансного режима между элементами рабочего тела устройства. Необходимое пространственное позиционирование обеспечивает условия для возникновения в ближней зоне рабочего тела режима стоячих электромагнитных волн.
Элементы магнитной системы собраны в единую конструкцию на платформе из немагнитных сплавов (рис. 5). Платформа, снабженная пружинами и амортизаторами, может перемещаться вертикально по трем направляющим. Величина перемещения измеряется индукционным датчиком 14 - сразу определяется изменение веса платформы в процессе эксперимента. Вес платформы с магнитной системой - 350 кг.
Статор 1 укреплен неподвижно, а ролики 2 - на общем подвижном сепараторе 3 с помощью динамических воздушных подшипников с целью максимального снижения трения. Для передачи вращательного момента сепаратор жестко связан с основным валом 4. А он посредством фрикционных обгонных муфт 5 связан с пусковым двигателем 6, выводящим устройство в режим самоподцержания вращения и электродинамическим генератором 7. Вдоль ротора расположены электромагнитные преобразователи 8 с разомкнутыми магнитопроводами 9. Магнитные ролики 2, пересекая магнитопроводы и замыкая магнитный поток через электромагнитные преобразователи, наводили в них ЭДС, которая поступала на нагрузку 10 (лампы накаливания). Электромагнитные преобразователи оснащены электроприводом 11 и плавно перемещаются по направляющим 12.
Для исследования влияния на характеристики конвертора высокого внешнего напряжения смонтирована система обеспечения радиальной электрической поляризации. На периферии устройства между электромагнитными преобразователями 8 установлены кольцевые электроды 13, имеющие с роликами 2 воздушный зазор 10 мм. Электроды подсоединены к высоковольтному (до 20 кВ) источнику напряжения: положительный потенциал - к статору, отрицательный - на кольцевые электроды. Также в конверторе предусмотрен масляный фрикционный генератор тепловой энергии 15, предназначенный для отвода избыточной мощности (свыше 10 кВт) в теплообменный контур.
Установка запускается путем раскрутки ротора с помощью электродвигателя. Обороты плавно наращиваются до тех пор, пока амперметр, включенный в цепь питания электродвигателя, не начинает показывать нулевое значение потребляемого тока и наличие обратного. При 200 об/мин установки магнитный датчик перемещения платформы начинает фиксировать изменение ее веса. Далее электродвигатель отключается и к основному валу через электромагнитную муфту подсоединяется электродинамический генератор. При достижении критического режима (около 550 об/мин) обороты ротора резко с большим ускорением возрастают до 590 об/ мин, одновременно замедляется текущее изменение веса платформы. При этом слышен неприятный свистящий звук высокой частоты. В этот момент подключается первая нагрузка в 1 кВт: звук сразу прекращается, обороты падают, а изменение веса продолжается. Как только обороты начинают снова расти, подключается вторая нагрузка для стабилизации оборотов ротора на уровне 590-550 об/мин, вес продолжает изменяться. Этот процесс зависит и от отводимой в активную нагрузку мощности, и от приложенного поляризационного напряжения. При максимальной отводной мощности 7 кВт изменение веса всей платформы в 350 кг достигает 35% от ее веса в неподвижном состоянии. Нагрузка более 7 кВт приводит к постепенному снижению оборотов и выходу из режима самогенерации с последующей полной остановкой вращения ротора. Увеличение активной нагрузки на генераторе происходит ступенчато до суммарной мощности 6 кВт с интервалами по времени, равными 10-30 сек. Далее наблюдается кратковременное увеличение оборотов и полная стабилизация режима в течение 12-15 сек.
Наблюдаются и другие «фокусы» от действия установки. При работе конвертора в затемненном помещении вокруг него наблюдается коронный разряд в виде голубовато-розового свечения с характерным запахом озона. Облако ионизации охватывает область статора и ротора и имеет тороидальную форму. На фоне коронного разряда по поверхности роликов ротора отчетливо просматривается волновая картина - зоны повышенной интенсивности беложелтого свечения расположены по высоте ролика так, как это бывает в высоковольтных высокочастотных индукционных накопителях энергии в предпробойном режиме. Но в этих зонах не было слышно характерного для дугового разряда звука, как и никаких эрозионных повреждений медных поверхностей статора и роликов.
Наблюдались вокруг установки и вертикальные концентрические «магнитные стены». С помощью портативного магнитомера измерено аномальное постоянное магнитное поле. Выявлены зоны его повышенной напряженности. Направление вектора магнитного поля в этих «стенах» совпало по направлению с вектором магнитного поля роликов.
Также обнаружено и аномальное падение температуры на 6-8° вблизи конвертора. В «магнитных стенах» температурные изменения фиксируются даже рукой: если ее поместить в зону «стены», то сразу же она ощущает холод.
Концентрические магнитые стены и тепловые эффекты начинают проявляться где-то с 200 об/мин и линейно нарастают по мере увеличения оборотов вплоть до критического режима.
Подготовил И. Русанин






Комментариев нет.