Штангенинструменты для определения межцентровых расстояний
Проверка межцентровых расстояний требует применения значительного количества мерных валиков, специальных оправок в сочетании с концевыми мерами длины, а также выполнения ряда арифметических расчетов...
Предложенный новатором Н. Кондратовичем штангенинструмент для измерения межцентровых расстояний, показанный на рис. 1, исключает применение валиков или оправок.
+ Щелкайте по рисункам, чтобы увеличить!

Рис. 1. Штангенинструмент для измерения межцентровых расстояний конструкции Н. Кондратовича
По своему устройству инструмент сходен с обычным штангенциркулем. Точность измерения — 0,02-0,05 мм. Величина измеряемых межцентровых расстояний практически ограничивается длиной линейки.
Штангенинструмент состоит из линейки 4 со шкалой, по которой могут передвигаться две каретки: левая 2 — фиксирующая и правая 3 — отсчетная. В лапки кареток запрессованы два измерительных пальца 5 диаметром 3 мм. С левой стороны линейки находится упор 1. При сдвигании обеих кареток влево до упора правая отсчетная каретка 3 должна находиться на отметке 10 мм, что соответствует расстоянию между осями пальцев.
Конструкция позволяет, произведя два последовательных измерения без каких-либо арифметических расчетов, прямо по шкале определить фактический размер — искомое расстояние между центрами отверстий или пазов. При этом диаметр измерительных пальцев прибора автоматически исключается и на результат измерения не влияет.
При измерении в начальный момент левая рамка должна занимать крайнее левое положение. Затем, отодвигая правую рамку, вводим мерительные пальцы в отверстия до соприкосновения образующих пальцев с наружными стенками отверстий и микрометрической подачей правой рамки создаем нужное мерительное давление. После этого правую рамку закрепляем. Затем перемещаем левую рамку до соприкосновения с правой и тоже закрепляем. Теперь, если правую рамку отодвинуть на такое расстояние, чтобы образующие измерительных пальцев соприкасались с внутренними поверхностями обоих отверстий, то на шкале линейки 4 и нониусе каретки 3 можно прочитать размер, определяющий межцентровое расстояние.
Слесарем-новатором Ю. В. Козловским по типу штангенциркуля сконструирован прибор для замера межцентровых расстояний. Прибор (рис. 2) предназначен для определения расстояния между центрами отверстий и осями пазов в один прием, независимо от разности диаметров отверстий или ширины пазов. Этим прибором можно измерять также межцентровые расстояния отверстий, расположенных на разной высоте.

Рис. 2. Прибор для измерения межцентровых расстояний конструкции Ю. В. Козловского
На линейке 2 прибора установлена подвижная каретка 3 с нониусом и уровнем 5. Две подвижные подпружиненные конусные головки 1 имеют возможность передвигаться в цилиндрических направляющих. Одна головка установлена на каретке, другая — на линейке. При измерении межцентровых расстояний каретка 3 с нониусом перемещается по линейке так, чтобы конусные головки вошли в отверстия измеряемой детали. Благодаря тому что каретка смонтирована на шариках, она может точно самоустанавливаться под воздействием конусных головок.
Во избежание ошибок при измерении линейку прибора предварительно устанавливают параллельно плоскости контролируемой детали. Для этого на детали выбирают две точки, лежащие на одной высоте, на эти точки устанавливают конусные головки и прижимают прибор к детали до полного сжатия пружин. Угол наклона детали (и линейки в этот момент) определяется по шкале делений, нанесенной на стеклянной трубочке уровня. При дальнейших измерениях межцентровых расстояний необходимо устанавливать линейку прибора под углом к горизонтали, равным углу расположения детали.
При измерении межцентровых расстояний, расположенных на разных уровнях, линейка прибора устанавливается также по уровню. Тогда оси обоих конусов будут перпендикулярны плоскости детали и ошибка в измерении, которая может возникнуть из-за перекосов, исключается.
Каретка на линейке фиксируется поворотом рычажка 4, после чего по шкале и нониусу определяется точное расстояние между осями отверстий. Использование прибора исключает необходимость производить дополнительные расчеты и намного сокращает трудоемкость операции контроля. Точность отсчета у прибора 0,05 мм. Диапазон измерения 0—350 мм.
Новатор Б. В. Коломинов предложил универсальный штангенциркуль, который также может применяться для замера межцентровых расстояний.
Универсальный штангенциркуль имеет простое устройство, выполняется на базе стандартного штангенциркуля и при сохранении всех его функций позволяет легко и быстро производить без арифметических вычислений следующие очень распространенные в слесарном деле операции:
1) измерение межцентровых расстояний;
2) нахождение (разметка) центра круга;
3) деление отрезков на две части и проведение осей симметрии деталей.

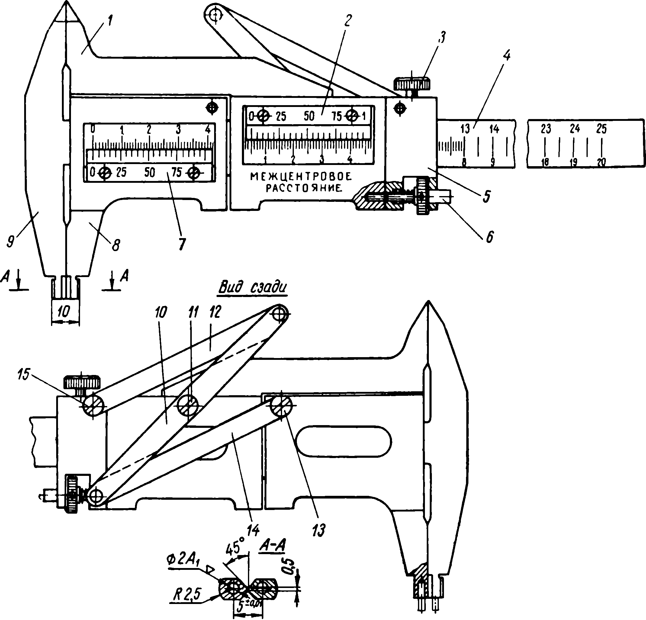
Рис. 3. Универсальный штангенциркуль конструкции Б. В. Коломинова
На линейке 4 универсального штангенциркуля (рис. 3) с неподвижной губкой 9 установлена подвижная губка 8 с нониусом 7, дополнительная подвижная губка 1 с нониусом 2 и хомутик 5.
Хомутик и подвижные губки соединены друг с другом посредством тяг 12, 14 и коромысла 10, представляющего собой равноплечий рычаг, установленный на дополнительной подвижной губке. Тяги и коромысло крепятся к губкам и хомутику на цапфах 11, 13 и 15.
При установке губок 9 и 1 вплотную друг к другу рабочая грань губки 1 и левая рабочая грань губки 8 лежат в одной плоскости, для фиксации губок в этом положении служит винт 6. В этом положении штангенциркулем производят обычные измерения. Винт 3 предназначен для закрепления хомутика 5 на линейке штангенциркуля.
На нижних оконечностях мерительных губок 9 и 8 имеются отверстия для установки специальных штифтов (например, диаметром 1,5—2 мм), необходимых для измерения межцентровых отверстий, диаметр которых меньше 5 мм (ширины оконечности губки). Расстояние между осями штифтов строго фиксированное (например, 5 мм).
При использовании универсального штангенциркуля для линейных измерений в качестве обычного измерительного инструмента отсчеты производятся по нониусу 7 подвижной губки 8. Для отсчета межцентровых расстояний служит нониус 2 подвижной губки 1. Отсчет производится по шкале на линейке 4, но по дополнительной оцифровке: при сдвинутых вплотную подвижных губках отсчет по нониусу 2 равен 5 мм — расстоянию между центрами отверстий для штифтов (или половине суммарной ширины губок).

Рис. 4. Универсальный штангенциркуль. Схема измерений
Для определения межцентрового расстояния измеряется расстояние между внешними стенками отверстий D и d (рис. 4, а; нумерацию позиций см. на рис. 3), при этом подвижные губки должны быть плотно прижаты друг к другу, и винтом 3 хомутик 5 закрепляется на линейке. Затем, если подвижные губки скреплены винтом 6, винт отвинчивается и измеряется расстояние между внутренними стенками отверстий (рис. 4, б). При этом подвижная губка 1 передвинется по линейке на половину перемещения подвижной губки 8 и по нониусу 2 на губке 1 снимается истинное значение межцентрового расстояния А.
Разметка оси симметрии детали, равно как и нахождение радиуса круга при отыскании центра, производится таким же образом (см. рис. 4, в и г). Измеряется габарит детали (диаметр), а затем после закрепления хомутика 5 на линейке подвижная губка 8 подводится вплотную к неподвижной губке 9. При этом расстояние между неподвижной губкой 9 и подвижной губкой 1 будет равно точно половине габарита детали (или равно радиусу круга).
Точность измерения межцентровых расстояний равна точности измерения базового стандартного штангенциркуля.
При необходимости измерения больших межцентровых расстояний шарнирный механизм, соединяющий подвижные губки и хомутик, может быть заменен малогабаритным шестеренно-реечным механизмом (на губке 1 на цапфе 11 устанавливается шестеренка, а на цапфах 13 и 15 на губке 8 и хомутике 5 — зубчатые рейки).
Производительность при измерении межцентровых расстояний универсальным штангенциркулем возрастает в 8—10 раз с исключением утомительных арифметических вычислений, а также возможных ошибок.
***
KONDOR- January 17 2026 11:06:06