О, нет! Где JavaScript?
Ваш браузер не поддерживает JavaScript или же JavaScript отключен в настройках. Пожалуйста, включите JavaScript в браузере для корректного отображения сайта или обновите свой браузер на поддерживающий JavaScript. Включите JavaScript в своем веб-браузере, чтобы правильно просматривать этот веб-сайт или обновить веб-браузер, поддерживающий JavaScript.

Разработка магнитогидродинамического движителя

Последнее обновление в 50 минут назад
W
WandanupУчастник
Опубликовано 13 часов назад
Капитан 3 ранга А. Соколов,
кандидат технических наук


В настоящее время за рубежом большое внимание уделяется исследованиям и разработкам в области создания принципиально новых корабельных систем электродвижения с безвинтовыми магнитогидродинамическими движителями (МГДД). Работа такого движителя основывается на возникновении тяги (силы Лоренца) при взаимодействии магнитного поля, направленного вертикально вниз, и электрического тока, протекающего перпендикулярно линиям магнитного поля. Результирующая сила перпендикулярна как направлению тока, так и магнитному полю и проходит вдоль основной оси судна.

По сравнению с обычными движитсльными установками МГДД имеет ряд преимуществ: пониженный уровень шумности (отсутствует гребной винт, линия вала, главный турбозубчатый агрегат и т.д.), хорошую маневренность, значительный КПД (теоретически он может достигать 80 проц.), простую компоновку энергетических отсеков, более высокую живучесть движительного комплекса (при сегментной конструкции).

Вместе с тем МГДД не лишены некоторых существенных недостатков, к числу которых можно отнести: выделение значительного количества хлора и водорода на электродах движителя вследствие электролиза морской воды, что является демаскирующим фактором; наличие мощных электромагнитных полей, которые с одной стороны демаскируют ПЛ, а с другой - оказывают негативное воздействие на личный состав и радиоэлектронные системы корабля.

Для устранения этих недостатков и создания МГДД со сверхпроводящими магнитами, обеспечивающими плотность магнитного потока 10 Тл и выше, потребовалось решить ряд сложнейших научно-технических задач. С этой целью за рубежом развернуты широкомасштабные НИОКР, в рамках которых можно выделить следующие основные направления: получение материалов, обеспечивающих возникновение эффекта сверхпроводимости при температуре кипения жидкого азота (77,3К) и выше, то есть высокотемпературных сверхпроводящих материалов; создание криогенных систем, сверхпроводящих магнитов, генераторов, преобразователей, распределительных устройств и других элементов энергетической установки; концептуальная разработка МГДД и ПЛ в целом.

Главная проблема состояла в создании и поддержании мощного магнитного поля в минимальном объеме устройства, что потребовало применения сверх проводящих (СП) материалов на основе ниобий-титанового сплава. При использовании электромагнитов с обмотками из обычных материалов (меди, алюминия) и стальным сердечником магнитная индукция в канале МГДД ограничена условиями насыщения сердечника и составляет 1,8-2 Тл (при электропроводности морской воды порядка 51 Ом м). При таких условиях для достижения КПД хотя бы 3-5 проц, потребуется создать магнит огромных размеров. Увеличить КПД можно также за счет повышения электропроводности морской воды на несколько порядков либо путем перехода на сверхпроводящие магнитные системы.

Электропроводность морской воды может быть повышена в 5-10 раз введением различных присадок на входе в канал движителя, однако в настоящих условиях это представляется технически сложной задачей.

Открытие эффекта сверхпроводимости материалов дало ученым возможность реально приблизиться к созданию МГДД для практических целей.

В январе 1986 года американские ученые Г. Веднорц и А. Мюллер открыли явление так называемой высокотемпературной сверхпроводимости, возникающей при температуре 40-70К в оксидной керамике, что послужило мощным толчком к расширению работ в данной области. В итоге весной 1987 года группа американских физиков синтезировала сверхпроводящий керамический материал, включающий иттрий, барий и оксид меди, с критической температурой 90-100К, что позволяет использовать в качестве хладагента жидкий азот, который в 200 раз дешевле (его можно получать из воздуха) и намного эффективнее как охладитель, чем гелий (теплота его парообразования в 10 раз выше). Кроме того, конструкция криогенных азотных установок значительно проще, их габариты примерно в 5 раз меньше и они приблизительно в 7 раз меньше потребляют электроэнергии, чем аналогичные гелиевые установки. Однако материал на основе иттрия, бария и оксида меди не обладал необходимыми электромеханическими и технологическими характеристиками, поэтому поиски более совершенных сверхпроводящих материалов были продолжены.
Последнее изменение: Admin-uzzer в 15-02-2026 08:17, 2 часа назад
Admin-uzzerAdmin-uzzerСуперадмин
Опубликовано 1 час назад
В 1988 году независимыми исследователями были получены сверхпроводники на основе висмута и таллия с критическими температурами 110 и 125К соответственно. Все синтезированные к настоящему времени сверхпроводящие материалы по химическому составу и критической температуре можно условно разделить на четыре группы.

Критическая температура

Ba (Pb, Bi) О3 – 10 К
(La, Me)a CuO4 - (Me - Ba, Sr, Ca) – 40 К
Ln Ваг Сиз O7 (Ln - редкоземельные металлы) – 90 К
Bi2 Sr2 Са2 Сu3 O10 – 110 К
TI2 Наг Са2 Сu3 O10 – 125 К

Таким образом, в период 1986-1988 годов в США было достигнуто почти шестикратное увеличение критической температуры, что можно рассматривать как научно-технический прорыв в области сверхпроводимости.

Большое внимание в ходе исследований уделялось улучшению других характеристик сверхпроводящих материалов, в частности увеличению критической плотности тока. В результате значения этого параметра для проводников были доведены до 105 А/см2. На втором этапе исследований (1990-1993), по всей видимости, были синтезированы сверхпроводящие материалы с критической температурой более 150К, критической плотностью тока свыше 106 А/см2 (при температуре 77 К). Успешное завершение этого этапа может создать реальные условия для разработки в 1994-1997 годах сверхпроводящих магнитов (с магнитной индукцией до 20 Тл), сверхпроводящих генераторов и другого оборудования с азотным охлаждением.

Одновременно велись разработки подобных систем с гелиевым охлаждением. Наибольшего размаха они достигли в 1970-1985 годах. В частности, американской фирмой «Вестингауз» был создан экспериментальный сверхпроводящий генератор мощностью 5 МВт и разработан проект синхронного генератора мощностью 300 МВт.
В настоящее время работы в области создания сверхпроводящих систем с гелиевым охлаждением продолжаются. В частности, специалисты американского научно-исследовательского центра кораблестроения им. Д. Тейлора занимаются разработками сверхпроводящих магнитов, не чувствительных к ударным воздействиям и обладающих высокими характеристиками, а также гелиевых систем охлаждения для сверхпроводящего оборудования. Кроме того, в США разработан униполярный сверхпроводящий генератор мощностью 300 кВт (30 В, 10 000 А). Опытный образец уже прошел демонстрационные испытания, и в настоящее время осуществляется программа повышения его мощности и улучшения других характеристик.

Уровень, достигнутый к настоящему времени в области высокотемпературных материалов, делает возможным создание первых образцов сверхпроводящей техники с азотным охлаждением. Так, в Аргонской лаборатории (штат Иллинойс) разработан и построен действующий образец высокотемпературного сверхпроводящего электродвигателя небольших размеров. Его обмотка изготовлена из керамического материала по следующей технологии: мелко измельченная керамика расплавляется, далее делается проволока, на которую наносится слой непроводящей керамики, а затем (до завершения процесса естественного остывания) формируется обмотка электродвигателя, которая впоследствии обжигается в специальной печи при высокой температуре. Ближайшая цель американских ученых - создание электродвигателя с азотным охлаждением мощностью 10 000 л.с.

В США ведутся НИОКР по концептуальному проектированию магнитогидродинамического движителя и моделированию процессов, возникающих в его канале. Проводятся также ограниченные эксперименты с масштабными моделями, не требующие значительных капиталовложений, но позволяющие проверить на практике наиболее важные теоретические выводы. К числу наиболее сложных технических задач, которые необходимо решить на ранних стадиях проектирования, западные эксперты относят следующие: конфигурация канала магнитодинамического движителя, конструкция сверхпооводящего магнита, совместимость с другими компонентами двигателя, системы возбуждения и защиты сверхпроводящего магнита, конструкция системы охлаждения сверхпроводящего оборудования, обеспечение надежности и эффективности криогенной системы, материалы для электродов в канале движителя и их конструкция, газообразование на электродах и их коррозия, контроль за магнитными, акустическими и химическими параметрами, массо-габаритные характеристики, эффективность и стоимость движителя, проводимость морской воды, интеграция нового движителя с конструкцией подводной лодки.

/
Admin-uzzerAdmin-uzzerСуперадмин
Опубликовано 60 минут назад
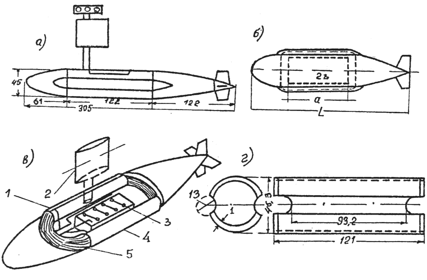
В ходе исследований магнитодинамического принципа движения в США и некоторых других странах был разработан и построен ряд моделей подводных лодок и судов. Впервые такая модель (EMS-1) была создана в июле 1966 года в Калифорнийском университете.

uzzer.ru/infusions/forum/attachments/uzzer-ru-1994-11-f-g-0062-a1.gif


Схема модели EMS-1
(а - вид сбоку; б - план; в - расположение основных элементов движителя; г - центральная секция корпуса): 1 - анод; 2 - ватерлиния: 3 - аккумуляторная батарея; 4 - катод; 5 - обмотка электромагнита


Она имела длину 3,05 м, диаметр 0,46 м и массу около 400 кг. Центральная часть корпуса, на которую была намотана обмотка возбуждения, изготавливалась из стали, а оконечности - из пластика, армированного стекловолокном. Магнитное поле создавалось обмоткой электромагнита, витки которой укладывались в горизонтальной плоскости в продольном направлении относительно корпуса модели. Система возбуждения была выполнена в виде двух обмоток из алюминиевого провода длиной 388 м (268 витков) и одной обмотки из медного провода длиной 366 м (134 витка). На обмотку, создающую магнитное поле, побортно были наложены электроды, находящиеся в непосредственном контакте с морской водой и изолированные от корпуса и обмотки. Источник питания (свинцово-кислотная аккумуляторная батарея, емкость 217 А ч и масса 150 кг) создавал в цепи напряжение 27 В и силу тока 1 ПУ-120 А, что обеспечивало движение модели в течение 20 мин. Через 100 с после начала движения модель развивала скорость 0,3 м/с. Максимальная скорость составляла 0,5 м/с при силе тяги 1,18 Н.

В 1976 году в Японии специалисты университета торгового флота совместно с лабораторией технических исследований судостроительной компании «Кавасаки хэви индастриз» создали и испытали модель надводного судна SEMP-1 с магнитогидродинамическим движителем длиной 1,1 м, в конструкции которой впервые в мире был использован сверхпроводящий электромагнит.

В 1980 году компания «Кавасаки хэви индастриз» в сотрудничестве с учеными университетов в городах Кобе и Осака провела успешные испытания модели судна ST-500 с МГДД. Она была изготовлена из дерева и имела длину 3,6 м, ширину 0,7 м и массу 700 кг. Две сверхпроводящие обмотки электромагнита, рассчитанные на максимальную силу тока 420 А, обеспечивали плотность магнитного потока 2 Тл (теоретическая плотность магнитного потока составляла 5 Тл). Титановые электроды, покрытые платиновым сплавом, располагались под днищем модели. Питание подавалось по кабелю со стенки бассейна. Во время испытаний была зафиксирована скорость хода 0,6 уз и сила тяги 15 Н при силе тока на электродах и в обмотке 65 А и 350 А соответственно. В 1986 году в Японии при участии фирмы «Тосиба» создана модель судна с МГДД (длина 2,6 м, масса 420 кг), развивавшая на испытаниях скорость до 2 м/с.

Опираясь на успехи, достигнутые при испытаниях моделей с новыми движителями, фирма «Мицубиси хэви индастриз» приступила к разработке проекта первого в мире судна водоизмещением 150 т - «Ямато-1», использующего данный принцип движения. Характеристики его движителя представлены ниже.

Количество сверхпроводимых дипольных обмоток 6
Диаметр одного канала 0,26 м
Плотность магнитного потока 4 Тл
Максимальная плотность тока в канале 4000 А/м2
Длина электродов 2,5 м
Выходная мощность генератора 3800 кВт
Масса системы 100 т

/
Последнее изменение: Admin-uzzer в 15-02-2026 09:19, 58 минут назад
Admin-uzzer прикреплено изображение:
uzzer-ru-1994-11-f-g-0062-a1.gif
Admin-uzzerAdmin-uzzerСуперадмин
Опубликовано 50 минут назад
При создании судна рассматривалось несколько проектов, и в итоге был выбран вариант с двумя движителями канального типа, расположенными побортно. Каждый из них имеет шесть каналов для прохождения морской воды, окруженных дипольными сверхпроводящими обмотками электромагнитов, изготовленными из ниобиево-титанового сплава. Внутри каналов размещаются электроды. Подобная конструкция принята в целях минимизации рассеяния магнитного потока, что, с одной стороны, повышает эффективность движителя, а с другой - облегчает построение магнитной защиты ходовой рубки и иных жизненно важных мест судна. В качестве охлаждающей среды в криостатах используется жидкий гелий.

uzzer.ru/infusions/forum/attachments/uzzer-ru-1994-11-f-g-0062-a2.gif


Экспериментальное судно «Ямато-1»:
1 - рулевое устройство; 2 - резервный движитель; 3 - главный генератор; 4 - энергетический отсек; 5 - криогенная установка на жидком гелии; 6 - МГДД; 7 - распределительный щит; 8 - рулевая рубка; 9 - вспомогательный генератор


Корпус этого судна длиной 30 м был сконструирован группой специалистов Токийского университета и изготовлен на верфи фирмы «Мицубиси». Устройство подводной кормовой части корпуса в виде двух капсул, в которых размещены движители, позволило существенно снизить гидравлическое сопротивление. Такая конструкция делает судно «Ямато-1» похожим на катамаран. Его полное водоизмещение составило 185 т (с учетом массы воды в каналах МГДД).

К настоящему времени японский Фонд содействия судостроению выделил различным фирмам на разработку магнитогидродинамического движителя и экспериментального судна «Ямато-1» 5 млрд. иен. Например, фирмы «Мицубиси» и «Тосиба» изготовили два комплекта движителя, «Кобэ стал» поставила криогенную установку на жидком гелии, «Сумитомо электрик» разработала сверхпроводящую обмотку для одного из комплектов движителя, а «Фурукава электрик» - для другого. Значительные ассигнования выделены также на проведение морских испытаний судна «Ямато-1», которые начались в июне 1992 года. В ходе испытаний была достигнута скорость хода 6 уз, однако японские специалисты считают, что после некоторых усовершенствований это судно сможет при невысоком уровне шумности развивать скорость хода свыше 50 уз. Ближайшей целью разработчиков является повышение мощности электромагнитов в 2-3 раза и улучшение их магнитных характеристик, что представляется вполне реальным при условии использования высокотемпературных талий- и висмутсодержащих сверхпроводящих материалов. Представители фирмы «Сумитомо электрик» не видит особых препятствий для разработки соответствующих обмоток из этих материалов уже к концу текущего десятилетия.

/
Последнее изменение: Admin-uzzer в 15-02-2026 09:28, 49 минут назад
Admin-uzzer прикреплено изображение:
uzzer-ru-1994-11-f-g-0062-a2.gif
Вы можете посмотреть все обсуждения на этом форуме.
Вы не можете начинать новые темы в этом форуме.
Вы не можете отвечать в этой теме.
Вы не можете начать опрос в этом форуме.
Вы не можете делать вложения в сообщения в этом форуме.
Вы можете загружать вложения в этому форуме.
Участвующие в обсуждении пользователи: Admin-uzzer, Wandanup
Вход на сайт
Не зарегистрированы? Нажмите для регистрации.
Забыли пароль?
Пользователей на сайте
Гостей на сайте: 1
Участников на сайте: 0

Всего зарегистрировано: 105
Новый участник: Cjacker






Яндекс.Метрика

*