Метрология: пружинные измерительные приборы
Для высокоточных измерений линейных величин в отечественной промышленности и других стран широкое распространение пружинные приборы…
Пружинные приборы – микрокаторы, микаторы, миникаторы
В пружинных приборах используются упругие передаточные (измерительные) механизмы, не имеющие пар с внешним трением, за счет чего удается получить высокие метрологические характеристики.
Наиболее распространенными пружинными приборами, серийно выпускаемыми по ГОСТ 6933-72 являются головки измерительные пружинные (микрокаторы). Конструкция прибора приведена на рис. 0.
+ Щелкайте по фото, чтобы увеличить!
С измеряемой деталью непосредственно соприкасается выпускаемый по ГОСТ 11007-66 наконечник 36.
Наконечник закрепляется на измерительном штоке 5 винтом 34. Измерительный шток подвешен на пружинных мембранах 4 и 24.
Ход штока вниз ограничивается гайкой 35, ввернутой в шайбу 3, которая зажимает в трубке 33 нижнюю кольцевую мембрану 4. При транспортировке приборов гайка 35 заворачивается, не позволяя штоку с упругим передаточным механизмом перемещаться. При эксплуатации гайка отворачивается до упора винта 1 в подпружинный штифт 2. Гайка 35 имеет восемь резьбовых отверстий по окружности, куда в зависимости от требуемого хода штока заворачивается винт 1. Шток 5 жестко связан с задним пружинным угольником 23, к которому специальным легкоплавким припоем припаяна пружинная скрученная лента 15. Температура плавления припоя 80°С. С другой стороны лента припаяна к переднему угольнику 13.
Скрученная лента (рис. 1, а) выполняется из калиброванной проволоки марки БРОФ 65-015-ОТ-0,15-П и состоит из двух скрученных участков 2 и 4 и трех прямых участков 1, 3 и 5. Участки 2 и 4 длиной 18 мм имеют противоположные направления скрутки с одинаковым числом витков n0 = 9. Выполнение ленты с разным числом витков n0 нецелесообразно из-за относительно малого крутящего момента, развиваемого такой лентой. В серийно выпускаемых приборах типа ИГП применяются микроленты толщиной b, равной 0,004; 0,006 и 0,008 мм, и шириной h, равной 0,08—0,12 мм.
В зависимости от способа получения микроленты ее поперечное сечение может иметь прямоугольную, овальную форму или форму сплющенного овала с талией. При прокатке проволоки шарами, которая осуществляется на ЛИЗе, получается форма сплющенного овала с талией (рис. 1, б). Разность между толщиной ленты b и величиной талии составляет 0,001—0,003 мм.
Зависимость угла β поворота перемычки скрученной ленты от длины S1 ее растяжения представлена на рис. 1, в. Начальный участок I (один-полтора оборота перемычки) — нелинейный; участок II (около трех оборотов) — приближается к линейному, с практически постоянным передаточным отношением и участок III — нелинейный, так как на нем может происходить упругопластическая деформация ленты. Поэтому в приборе с помощью винтов 12 (рис. 0) осуществляется предварительное натяжение ленты на один-полтора оборота.
К прямому участку ленты длиной 3—5 мм, называемому перемычкой, с помощью клея или шеллака прикрепляется стеклянная стрелка 30 длиной 40—45 мм. Стрелка выполняется из стеклянной трубки с наружным диаметром 0,06 мм. Для долемикронных приборов стрелка вытягивается на конус с размером в области шкалы 0,03 мм. На один конец стрелки, находящейся в области шкалы, прикрепляется алюминиевый наконечник шириной 0,2 мм, на противоположный конец стрелки — противовес 16 в виде капли шеллака, необходимый для балансировки стрелки. Перекрытие стрелкой штрихов шкалы 31 должно составлять 0,3—0,8 их длины. Прямые участки, расположенные на концах ленточки, припаиваются к пружинным угольникам 13 и 23.
Принципиальные схемы пружинных приборов приведены на рис. 2. Измерительная цепь микрокатора (рис. 2, а) состоит: из наконечника 7, штока 6, заднего угольника 4, скрученной ленты 3 и стрелки 2. Зависимость между перемещением стрелки S по шкале и изменением измеряемого размера d (рис. 3) определяет градуировочную характеристику микрокатора.

Рис. 3. Экспериментальная статическая характеристика микрокатора типа 0,1 ИГП
На рисунке представлены экспериментальные градуировочные характеристики отрегулированного микрокатора типа 0,1 ИГП, снятые от нулевого деления шкалы до правого крайнего. Отклонение реальной градуировочной характеристики М от номинальной Н не превышает 1%, и систематическая составляющая погрешности ΔС = 0,06 мкм.
Случайная составляющая погрешности — размах показаний А в микрокаторах так же мала, так как в измерительной цепи отсутствуют пары с внешним трением. В исследуемом микрокаторе случайная составляющая ±2σ — ±0,025 мкм. Шкала микрокатора, а следовательно, и номинальная градуировочная характеристика Н линейна. Тангенс угла наклона α1 градуировочной номинальной характеристики равен передаточному отношению i.
Продольная жесткость и передаточное отношение скрученных лент в зависимости от их ширины h, толщины b и числа витков n0 может быть определена по графику (рис. 4). Изменением длины l3 вылета переднего угольника можно изменять передаточное отношение пружинного механизма. Отпуская винты 12 (рис. 0), перемещают угольник 13; окончательно регулируют передаточное отношение винтом 14. Таким образом, передний угольник является упругим кинематическим компенсатором, который позволяет производить изменение передаточного отношения.
Погрешности носят систематический прогрессивный характер и являются функцией хода измерительного штока, они могут быть скомпенсированы при регулировке прибора изменением плеча 13 (рис. 1, а).
С целью компенсации синусоидальной погрешности от эксцентриситета на шкале в местах ее крепления имеются пазы, по которым шкала смещается при регулировке прибора.
Угол поворота стрелки 30 (рис. 0) превышает угол оцифрованной части шкалы 31 на 5—10°, так как ход стрелки ограничен графитовыми штифтами 32. Статическое взаимодействие стрелки со штифтом обычно невелико и прогиб тонкой стеклянной стрелки при ударе о штифт почти не заметен. Для удобства пользования микрокатор имеет два ограничителя 20, перемещающихся по шкале при воздействии на язычок 27, выведенный на заднюю стенку крышки 22. Обычно ограничители устанавливаются на границе полей допуска. Так как микрокаторы настраиваются по образцовой детали, выход стрелки за ограничители в этом случае определяет наличие бракованной детали.
Для тонкой настройки микрокатора служит винт 9, имеющий мелкую резьбу. Винт при повороте воздействует на планку 10, деформирующую хоботок 11, на котором закреплен передний угольник 13. При этом изменяется натяжение ленты 15 и перемещается стрелка 30. Винт 9 производит поворот стрелки в пределах шести делений шкалы.
При сборке регулировка измерительного усилия осуществляется перестановкой шайбы 6, воздействующей на имеющую переменный диаметр пружину 7, установленную в стакане 8, который упирается в палец 29. После сборки окончательная регулировка измерительного усилия осуществляется перемещением пальца 29, который после регулировки закрепляется винтом, проходящим через трубку 33. Трубка служит для закрепления микрокатора в стойке или приспособлении. Размер трубки 28h7, класс шероховатости поверхности 9. Многие микрокаторы фирмы «Иогансон» (Швеция) имеют диаметр трубки 30 мм. В последних конструкциях микрокатора за поверхность образующей трубки 33 выведен штифт 28, ограничивая перемещение микрокатора при его установке в приспособлении. При работе с арретированием на трубку микрокатора надевается хомут 39 арретирующего устройства. Перед установкой детали под наконечник 36 оператор нажимает на отводку 37, которая своим язычком воздействует на буртик наконечника; поднимая измерительный шток 5. Возврат отводки в исходное положение осуществляется пружиной 38. В микрокаторах с ценой деления менее 1 мкм для теплоизоляции к отводке 37 крепится деревянная планка.
Скрученная лента для демпфирования крутильных колебаний проходит через жидкостный успокоитель 18 с полисилоксановой жидкостью. В конструкции микрокаторов до 1971 г. на скрученную ленту в области успокоителя приклеивалась шеллаковая бусинка и применялась полисилоксановая жидкость типа ПСМ-10.000 с вязкостью 100 Ст. В последних отечественных микрокаторах шеллаковая бусинка отсутствует, и применяется жидкость типа ПСМ-100.000 с вязкостью 1000 Ст.
Измерительный пружинный механизм микрокатора закрыт фенопластовыми крышками 17 и 22, которые соединяются винтами 21. Задняя крышка винтами 26 крепится к корпусу 25. В передней крышке имеется вырез, куда вставлено защитное стекло 19. В 1977 г. выпущена партия герметизированных микрокаторов типа ИГПГ, у которых герметизированы крышка, корпус и трубка. Микрокаторы могут работать при воздействии охлаждающей жидкости и абразивной пыли.
Другие приборы с упругим передаточным механизмом со скрученной лентой имеют много общего с микрокаторами типа ИГП, которые являются базовой моделью.
В микрокаторах с ценой деления 0,00002 и 0,00005 мм (рис. 2, б) между штоком 6 и задним угольником 4 установлено промежуточное коромысло 9, подвешенное на пружинном кресте 8. Контакт между коромыслом и штоком осуществляется двумя перекрещивающимися штифтами 10 и 11. В микрокаторе применена скрученная лента 3 толщиной b = 0,004 мм. Так как интервал между штрихами шкалы несколько уменьшен по сравнению с микрокаторами типа 1ИГП, перед шкалой устанавливается увеличительное стекло. Аналогично выполнены микрокаторы фирмы «Иогансон» (Швеция) с ценой деления 0,00005 мкм (рис. 2, г). Отличительной особенностью микрокатора является наличие промежуточной кулисно-рычажной передачи 9 между штоком 6 и задним угольником 4.
На базе пружинного механизма созданы многооборотные пружинные головки - Авт. свид. № 203926 (рис. 2, в), опытная партия которых выпущена ЛИЗом. Измерительный шток 6, перемещающийся в шариковых направляющих 12, передает движение через задний угольник 4 на скрученную ленту 3, к которой прикреплена двухсторонняя стрелка 2, перемещающаяся по шкале 1. Через пружинную передачу 13 поворачивается стрелка 14, отсчитывающая по шкале 15 число полуоборотов стрелки 2. Отсчетные концы двухсторонней стрелки 2 имеют различный цвет и форму. Шкала 1 также имеет оцифровку двух цветов. При определенном положении стрелки 2, когда оба конца находятся над шкалой 1, отсчет производится по тому из них, цвет которого совпадает с соответствующим цветом деления шкалы 1.
Отечественной промышленностью по ГОСТ 14712-69 серийно выпускаются головки измерительные пружинные малогабаритные (микаторы), схема которых приведена на рис. 2, д. Измерительный шток 6 перемещается в шариковых направляющих 12, размещенных в трубке с присоединительным диаметром 8h7. Поворот штока при его перемещении предотвращается штифтом 17, по которому перемещается насадка 19, закрепленная на штоке. Ход штока вниз ограничивается винтом 18. Задний угольник 4, к которому припаяна скрученная лента 3, имеет жесткую конструкцию и подвешен на пластинчатой пружине 16. Исключение составляет конструкция микрокатора с ценой деления 0,2 мкм, где задний угольник выполнен в виде плоской упругой пластины.
В угольник 4 запрессован шарик 10, с которым контактирует пятка 11, закрепленная в насадке 19. Измерительное усилие создается пружинкой 5. При перемещении штока 6 через пятку 11 и шарик 10 поворачивается угольник 4, который воздействует на скрученную ленту 3 и поворачивает по шкале 1 стеклянную стрелку 2 длиной 30 мм. Рабочий радиус стрелки равен 22 мм. Так как конструкция измерительного штока не имеет жесткого соединения с угольником 4, рабочий ход штока на 2 мм больше диапазона измерения по шкале.
В конструкции микатора предприятия ФМЦ (г. Зуль, ГДР), схема которого представлена на рис. 2, е, шариковые направляющие 12 разнесены, и при движении штока 6 к измеряемой детали скрученная лента 3 в отличие от других пружинных механизмов растягивается, что приводит к различному поведению ленты при быстром и медленном арретировании. Для уменьшения скорости движения штока 6 в микаторе предприятия ФМЦ применяется кулачковый арретир с плавной профильной кривой. Ограничение хода штока вверх в микаторах предприятия ФМЦ производится регулируемым упором 20.
Микатрры фирмы «Иогансон» (Швеция) имеют измерительный шток, подвешенный на упругих направляющих, расположенных по разные стороны от скрученной ленты. Поэтому рабочий ход в этих микаторах значительно меньше, чем в отечественных.
В последние годы созданы пружинные головки с регулируемым и малым измерительным усилием, необходимые для измерения деталей из мягких материалов или малой жесткости.
Серийно освоен выпуск пружинных головок с возможностью регулировки измерительного усилия от 0 до 150 сН, обеспечивающих перепад измерительного усилия до 1 сН (рис. 5, а). Изменение величины измерительного усилия производится поворотом маховичка 11, имеющего накатку. Часть маховичка выведена за наружную поверхность трубки микрокатора. Маховичок поворачивает колесо 10, перемещающее винт 12, который воздействует на стакан 13. При изменении положения стакана относительно трубки микрокатора изменяется натяжение пружины 14, создающей измерительное усилие. Один конец пружины закреплен на измерительном штоке 16, подвешенном на пластинчатых пружинах 9 и 15. Перемещение штока через задний угольник 8 передается скрученной ленте 6, которая по шкале 4 поворачивает стрелку 5. При этом изменяется усилие натяжения упругих элементов: пружины 14, переднего 7 и заднего 8 угольников и скрученной ленты 6, что приводит к значительному перепаду измерительного усилия. Для уменьшения перепада измерительного усилия на верхнем конце штока закреплен компенсатор, выполненный в виде упругой деформируемой в продольном направлении плоской пружины 2, имеющей участок с отрицательной жесткостью - Авт. свид. № 262448.
ЛИЗ выпустил партию пружинных головок с малым измерительным усилием до 5 сН без регулировки его величины (рис. 5, б). Измерительный шток 16 нитью 21 соединен с коромыслом 20 разгрузочного устройства. На одном плече коромысла закреплен груз 18, который разгружает вес измерительного штока 16, к другому плечу прикреплена пружина 19, создающая момент, противоположный моменту, создающемуся пружиной 14. При перемещении штока 16 изменяется усилие пружины 14, входящей в стакан 13, который упирается в закрепляемый при изготовлении палец 12; одновременно через нить 21 вокруг пластинчатой опоры 17 поворачивается коромысло 20, изменяя величину и плечо действия усилия пружины 19. Возникающее изменение момента компенсирует перепад усилия пружины 14.
Аналогично выполнена схема пружинной головки с малым измерительным усилием и ценой деления 0,00005 мм (рис. 5, в). Отличительной особенностью головки является наличие плоского вантового механизма 8, который соединен со скрученной лентой 6 и промежуточным коромыслом 24, подвешенным на пластинчатом кресте 25. Вантовый механизм состоит из двух пружинных стяжек и кинематически связан через пересекающие штифты 22 и 23 с измерительным штоком 16.
Разгрузочное устройство с цилиндрической пружиной по сравнению с пружинным компенсатором измерительного усилия (рис. 5, а) обладает рядом существенных недостатков: невозможность обеспечения компенсации перепада измерительного усилия при малом ходе измерительного штока, так как это требует очень большой жесткости пружины 19 (рис. 5, б); регулировка устройства сложна; концы заделки пружины представляют подвижные шарниры с парой внешнего трения, что вызывает нестабильность компенсации измерительного усилия при прямом и обратном ходе измерительного штока. Поэтому во всех последних конструкциях пружинных и пружинно-оптических приборов с малым и регулируемым измерительным усилием применена схема пружинного компенсатора с предварительно деформированной в продольном направлении плоской пружиной.

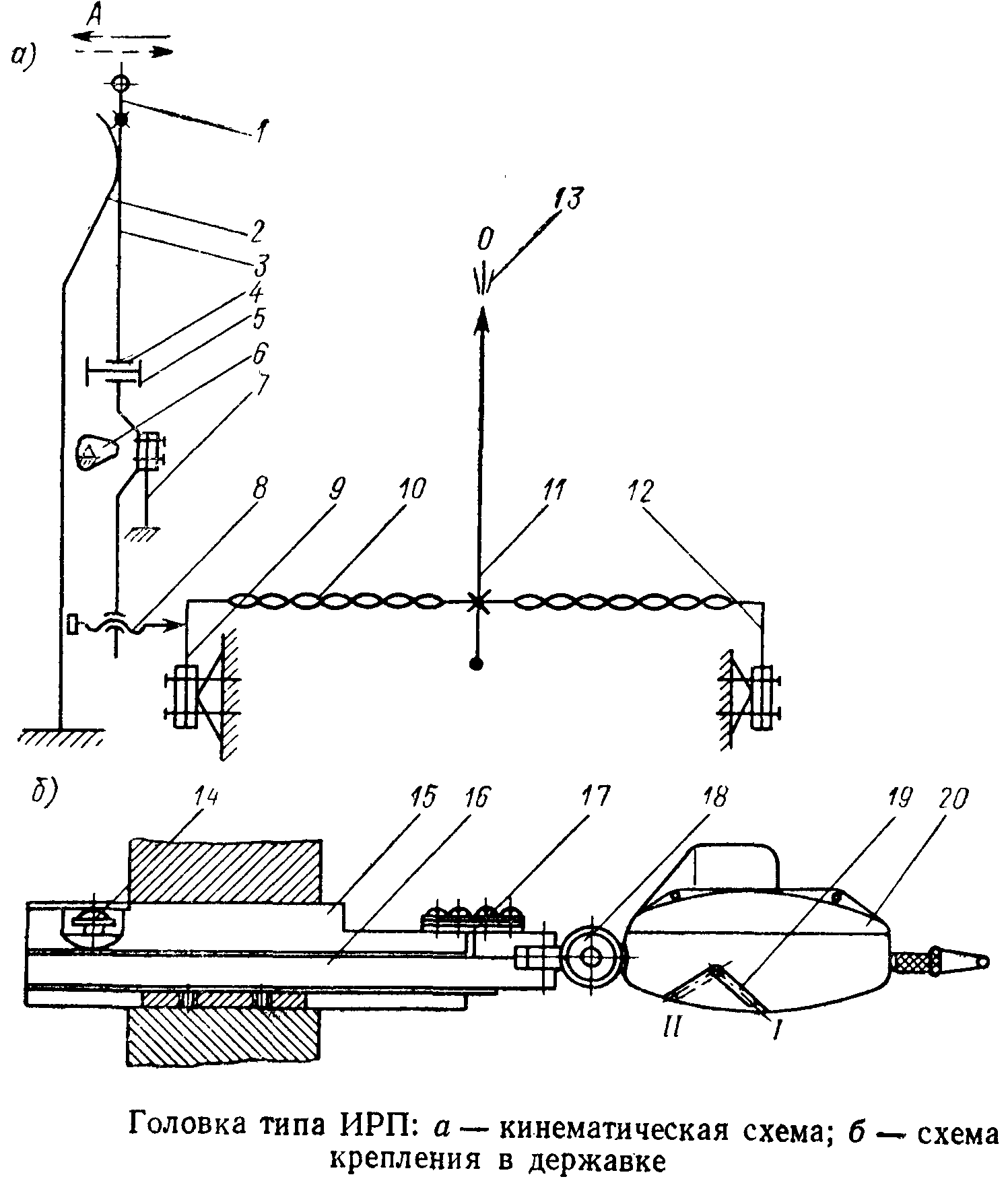
Рис. 6. Головка типа ИРП: а — кинематическая схема; б — схема крепления в державке
Для измерения размеров в труднодоступных местах по ГОСТ 14711-69 выпускаются головки рычажно-пружинные (миникаторы). Схема передаточного механизма миникатора представлена на рис. 6, а, схема закрепления миникатора в державке — на рис. 6, б.
Шариковый сменный наконечник 1 закрепляется на рычаге 3, подвешенном на плоской пластинчатой пружине 7. Наконечник имеет возможность устанавливаться под определенным углом в плоскости измерения в пределах 60°, после чего он закрепляется на рычаге 3. На втором конце рычага имеется регулируемая игла 8, которая через задний угольник 9 воздействует на скрученную ленту 10 длиной 30 мм, поворачивая стрелку И относительно шкалы 13. Второй конец ленты 10 припаян к переднему угольнику 12. Число витков на скрученных участках ленты h0 = 7. Стрелка прибора имеет рабочую часть длиной 19 мм.
Головка снабжена рычагом 19 для переключения направления измерения. При повороте рычага поворачивается кулачок 6, воздействующий на пружину 2. В положении I кулачок 6 отведен от пружины 2. Пружина прижимает втулку 4 рычага 3 к правому торцу упора 5. При этом измерение производится в направлении стрелки А, а измерительное усилие создается пружиной 2. При переводе рычага 19 в положение II кулачок 6 отводит пружину 2. Втулка упирается в левый торец упора 5, и измерительное усилие создается пружиной 7.
В державку 15 головка 20 вставляется своим хвостовиком, после чего она закрепляется винтом 18. Головка должна быть установлена так, чтобы направление измерения было параллельно плоскости микроподачи. Микроподача осуществляется винтом 14, который воздействует на планку 16, подвешенную на пластинчатой пружине 17.
- Далее: пружинно-оптические приборы, оптикаторы...
- Применение пружинных и пружинно-оптических приборов в производстве
- Эксплуатация, регулировка, ремонт и поверка приборов
Средства для линейных измерений
Б.М. Сорочкин, Ю.З. Тененбаум
А.П. Курочкин, Ю.Д. Виноградов
Ленинград "Машиностроение" 1978





Комментариев нет.