Метрология: пружинно-оптические измерительные приборы
Оптико-механические пружинные средства линейных измерений…
Пружинно-оптические приборы - оптикаторы
Наиболее распространенными пружинно-оптическими приборами являются головки измерительные пружинно-оптические типа П (оптикаторы), выпускаемые по ГОСТ 10593-74. Оптикаторы (рис. 1) имеют упругий передаточный механизм, унифицированный с головками типа ИГП. Отличительными признаками механизма является то, что на перемычку скрученной ленты 1 приклеивается миниатюрное зеркало 2 размером 1,5 х 1,5 х 0,1 мм и массой 0,5—2 мг, угол поворота которого пропорционален перемещению штока. Демпфер 13 передаточного механизма заполняется смесью полисилоксановой жидкости с вязкостью 1000 и 100 Ст в пропорции 1:1.
В задней крышке оптикатора закреплен осветитель 4, состоящий из источника света - лампы 7, конденсатора 8, диафрагмы 10 с нитью и объектива 12. Оптические детали для теплоизоляции заключены в фенопластовую обойму 9, которая закрепляется в кронштейне 11. Корпус 6 осветителя имеет щели для улучшения теплообмена лампы 7 и зажимается гайкой 5. Лампа оптикатора подсоединяется к трансформатору, который может быть включен в сеть с напряжением 220 и 127 В. На трансформаторе установлена ручка регулировки яркости накала лампы.
Световой поток от осветителя направляется на зеркало 2 и проектируется на скосе шкалы 3 в виде светового индекса с нитью шириной 0,2 мм. Оптикаторы не имеют параллакса, присущего стрелочным приборам. Благодаря оптическо-рычажной передаче общее передаточное отношение i оптикатора вдвое больше, чем у микрокатора. В этом случае коэффициент 17,4 заменяется на 34,8. Для установки пределов поля допуска оптикатор имеет цветные шторки-фильтры зеленого и красного цвета, положение которых регулируется маховичками 14. Шторки размещаются на пути потока светового, окрашивая индекс в соответствующий цвет.

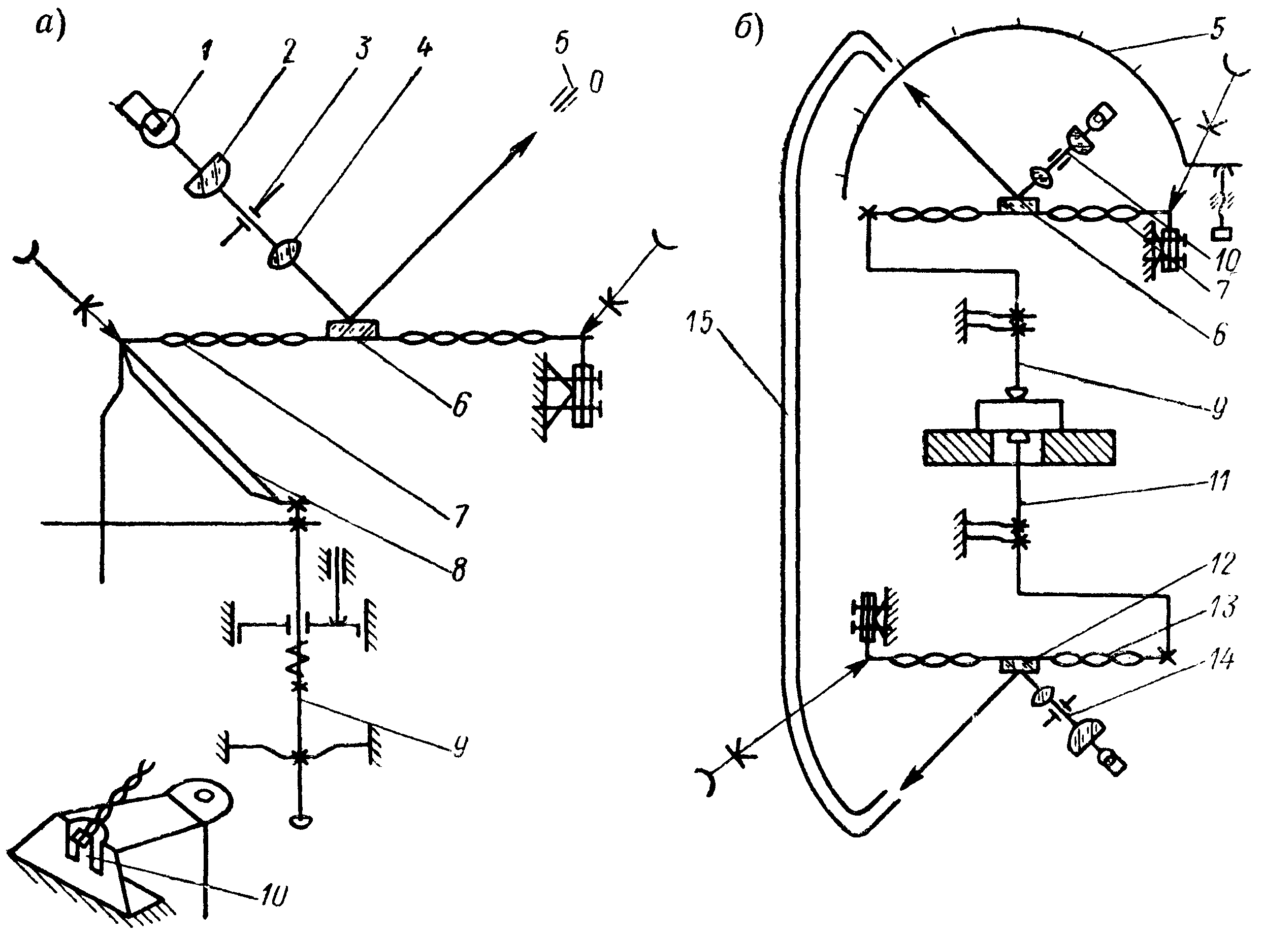
Рис. 2. Схемы пружинно-оптических измерительных головок
Кинематическая схема оптикатора типа П представлена на рис. 2, а. От штока 9 через задний угольник 8 движение передается на скрученную ленту 7, которая поворачивает зеркало 6. Световой поток от лампы 1 через конденсатор 2, диафрагму 3 и объектив 4 попадает на зеркало 6 и, отражаясь от него, в виде индекса проектируется на шкалу 5. В оптикаторах с расширенным диапазоном измерения по предложению О. А. Голубева, изложенному в авторском свидетельстве СССР № 191149, применяется задний угольник 8 с консольным пружинным рычагом 10, что позволяет повысить надежность оптикаторов.
Другим способом увеличения диапазона измерения оптикаторов является выполнение упругого передаточного механизма с двумя зеркалами в соответствии с авторским свидетельством СССР № 172499. В 1976 г. выпущена партия оптикаторов моделей 15305—15605, где применена подобная схема. Диапазон измерения оптикаторов увеличен в два раза. На скрученную ленту 7 приклеено сборное зеркало, состоящее из двух половин, расположенных друг к другу под углом 90°. Одна из половин окрашена в оранжевый цвет. Шкала 5 отсчетного устройства имеет два ряда оцифрованных штрихов — черного и красного цвета. Световой поток, отражаясь от разных половин зеркала 6, окрашивает световой индекс в различные цвета.
- Характеристики оптикаторов, выпускаемых промышленностью, приведены в табл. 1
Для учета изменения положения базы при измерении был предложен прибор с двумя пружинными передаточными механизмами - Авт. свид. № 274372 (рис. 2, б). Шток 9 передает движение ленточке 7, разворачивая зеркало 6 и перемещая от осветителя 10 световой индекс по шкале 5. Шток 11 передает движение на ленточку 13 и зеркало 12. При этом световой поток от осветителя 14 по световоду 15 попадает также на шкалу 5. По предложенной схеме может быть выполнен прибор, компенсирующий погрешности базирования измеряемой детали.
Упругий передаточный механизм со скрученной лентой был использован для создания унифицированной гаммы оригинальных приборов типа ЦНИТА для измерения отверстий и контроля различных параметров деталей топливной аппаратуры.
На рис. 3 представлена схема прибора типа ЦНИТА 8243 для измерения диаметров высокоточных отверстий.
Измерительные рычаги 3 с твердосплавными наконечниками 7 размещены в оправке 5, на которую надевается контролируемая деталь 4, и крепятся к блоку шарниров 2. Шарниры выполнены в виде тонких перемычек 0,15 мм путем выборки металла в блоке прямоугольной формы, образуя два рычага, к которым крепятся планки 8, несущие пружинный передаточный механизм с ленточкой 12, проходящей через демпфер 13, и зеркалом 15. Рычаги блока шарниров разжаты пружиной 26, измерительное усилие наконечников создается пружинами 22. При перемещении наконечников 7 рычаги с планками 8 поворачиваются вокруг шарниров 28, воздействуя на ленточку 12, припаянную к лепесткам 11. Световой поток от лампы 17 осветителя 16 отражается от зеркал 15 и 14 и в виде светового индекса с нитью перемещается по шкале 10. Перемещение измерительных наконечников 7 ограничивается упором 6.
Настройка приборов типа ЦНИТА осуществляется по образцовой детали путем поворота сектора 1, выведенного за наружную панель 9, которая крепится к корпусу прибора винтами 18. Точность аттестации образцовых деталей 0,05—0,1 мкм. Сектор 1 через рычаг 27 и хомутик 24 поворачивает втулку 23, в которой закреплена стяжка 25. Стяжка, поворачиваясь, меняет свою длину, что вызывает поворот рычагов 2 вокруг шарнира 20 и точное перемещение светового индекса по шкале 10. В винте, крепящем стяжку 25, выполнено термокомпенсирующее устройство, которое уменьшает смещение уровня настройки. Измерительное устройство установлено на втулках 19, с помощью которых при наладке прибора изменяется положение измерительного узла относительно оправки 5. После отладки измерительный узел закрепляется винтом 21.
- Характеристики приборов типа ЦНИТА приведены в табл. 2
- Ранее: Пружинные приборы – микрокаторы, микаторы, миникаторы
- Применение пружинных и пружинно-оптических приборов в производстве
- Эксплуатация, регулировка, ремонт и поверка приборов
Средства для линейных измерений
Б.М. Сорочкин, Ю.З. Тененбаум
А.П. Курочкин, Ю.Д. Виноградов
Ленинград "Машиностроение" 1978


Комментариев нет.