Микрокаторы и оптикаторы – использование
Пружинные и пружинно-оптические приборы применяются при высокоточных относительных измерениях линейных величин…
Применение пружинных и пружинно-оптических приборов в производстве
Они являются универсальными приборами и используются в любых приспособлениях для измерения большинства линейных параметров деталей, машин и приборов.
- Пружинные приборы – микрокаторы, микаторы, миникаторы
- Пружинно-оптические приборы – оптикаторы
- Эксплуатация, регулировка, ремонт и поверка приборов

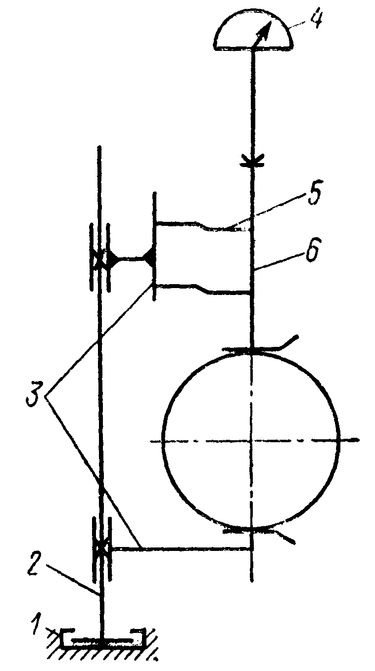
Рис. 1. Стойка для пружинных головок
ЛИЗ по ГОСТ 10197—70 выпускает стойки типа С-I (модель 07101) для приборов с ценой деления до 0,5 мкм и типа С-II (модель 07201) для приборов с ценой деления от 1 до 10 мкм (рис. 1). В чугунное основание 15 запрессована стальная колонка 12, по которой имеют возможность перемещаться кронштейны 10 и 13, а также устанавливается столик 16. В верхнем кронштейне на плоских пружинах 4 подвешена втулка 5, куда с помощью винта 7 через промежуточную прокладку 6 крепится измерительная головка 9 с присоединительным диаметром 28 мм. К нижнему кронштейну прикрепляется упор 14. Кронштейны на колонке закрепляются винтами 1 через промежуточные латунные прокладки 2. Для предотвращения поворота кронштейнов на колонке 12 имеется продольный прямоугольный паз, а в кронштейнах установлена прямоугольная шпонка. Перемещение кронштейна 10 при отпущенном винте 1 осуществляется гайкой 11. В верхний кронштейн вмонтирован узел микроподачи. При повороте винта 3, в головке которого есть отверстия для специальной рукоятки, на плоских пружинах 4 перемещается втулка 5 с измерительной головкой 9. Винт 3, имеющий резьбу М8 х 0,5, упирается в пятку 8 с поверхностной твердостью HЯC 48—52.
Подлежащую измерению деталь устанавливают на столик 16 и, перемещая гайку 11, опускают кронштейн 10 до касания наконечника прибора 9 измеряемой поверхности. Затем винтом 1 закрепляют кронштейн 10, а винтом 3 устанавливают указатель измерительного прибора 9 в нужное положение.
В основную поставку входит прямоугольный столик с ребристой поверхностью. По требованию заказчика к стойке может прилагаться: а) регулируемый столик с выступающей сферической вставкой, предназначенный для контроля плоскопараллельных концевых мер и плоских деталей длиной до 20 мм; б) регулируемый столик с выступающим средним ребром, предназначенный для контроля плоскопараллельных концевых мер и плоских деталей длиной до 150 мм; в) регулируемый плоский столик, позволяющий производить выставление поверхности стола параллельно плоскому наконечнику измерительной головки; г) кронштейн для приборов с присоединительным диаметром 8 мм; д) приспособление для контроля ленты толщиной до 1 мм; е) приспособление для контроля проволоки диаметром до 1 мм; ж) центры; з) специальные движки для перемещения концевых мер; и) защитное стекло для защиты зоны измерения от теплового воздействия контролера.
Широкое применение пружинные приборы нашли в приспособлениях многомерных: для контроля деталей подшипников; в сборных контрольных, состоящих из набора независимых агрегатных узлов серийного производства. Сборные приспособления представляют опорную плиту с Т-образными пазами, на которой устанавливаются сменные поворотные стойки с измерительными головками, передвижные центры или призмы, шарнирные скобы и т. д.

Рис. 2. Схема раздвижной скобы
В качестве устройства для контроля валов в приспособлениях широко применяются регулируемые скобы (рис. 2). Скоба крепится на колонке 2, установленной на плите 1, имеющей Т-образные пазы, по которым колонка может передвигаться. Подвижной измерительный наконечник 6 скобы подвешен на одной из губок 3 на плоских пружинах 5 и контактирует с одной стороны с контролируемым изделием, а с другой — с наконечником измерительной головки 4.
Так как пружинные приборы обладают высокой чувствительностью и имеют незначительную разницу прямого и обратного хода, их рационально применять в приспособлениях для контроля биений и отклонений от правильности геометрической формы.

Рис. 3. Схема прибора для измерения биения колец
На рис. 3 приведена схема прибора для контроля неперпендикулярности отверстий к торцу колец шарикоподшипников. Кольцо устанавливают на твердосплавный столик 1 и прижимают к базовым роликам 7. Затем на кольцо опускают мостик с коническим конусным фрикционным роликом 4. Направление конуса ролика, получающего движение от двигателя, обеспечивает прижим кольца к базовым роликам 7 и упору 2. Прижим другого конца кольца осуществляется пружиной 3. При вращении кольца отклонение размера через измерительный рычаг 6 передается микрокатору 5.
Пружинные приборы находят применение при активном контроле. В этом случае они должны крепиться к станку на виброизолирующих плитах. Для применения пружинных головок при активном контроле ЛИЗом созданы герметизированные микрокаторы типа ИГПГ.

Рис. 4. Рычажная скоба для активного контроля
На рис. 4 приведена схема скобы с измерительной головкой. Скобу устанавливают на круглошлифовальном станке, шарнирно подвешивая на пружинном кронштейне 8 к кожуху шлифовального круга так, чтобы она могла свободно откидываться. Опорные поверхности 1 базирующих наконечников прижимаются к обрабатываемой поверхности с усилием до 500 сН с помощью пружин поворотного кронштейна 8. Измерительное усилие наконечника 2 создается пружиной 4. Подвижной наконечник подвешен на пружинном параллелограмме 3, который закреплен на корпусе 5. Перемещение наконечника через рычаг 6 передается штоку измерительной головки 7. Когда размер обрабатываемой детали достигнет заданного значения, оператор снимает отсчет по шкале измерительной головки и останавливает станок или переключает режим подачи.
Средства для линейных измерений
Б.М. Сорочкин, Ю.З. Тененбаум
А.П. Курочкин, Ю.Д. Виноградов
Ленинград "Машиностроение" 1978
Комментариев нет.