Оптикаторы, микрокаторы, микаторы, миникаторы
Технические вопросы связанные с эксплуатацией этих средств измерений…
Эксплуатация, регулировка, ремонт и поверка приборов
Приборы с упругим передаточным механизмом предназначены для эксплуатации в чистом сухом помещении, изолированном от машин, которые передают вибрацию. Для обеспечения необходимой точности в помещении должен соблюдаться температурный режим, оговоренный в паспорте прибора. Для уменьшения влияния вибраций приборы желательно устанавливать на виброизолирующие прокладки. К ним относятся: снижение интенсивности источников вибраций, применение виброизолирующих столов и амортизаторов, специальные поглощающие вибрации фундаменты, повышение виброустойчивости измерительных приборов.
- Пружинные приборы – микрокаторы, микаторы, миникаторы
- Пружинно-оптические приборы – оптикаторы
- Применение пружинных и пружинно-оптических приборов в производстве
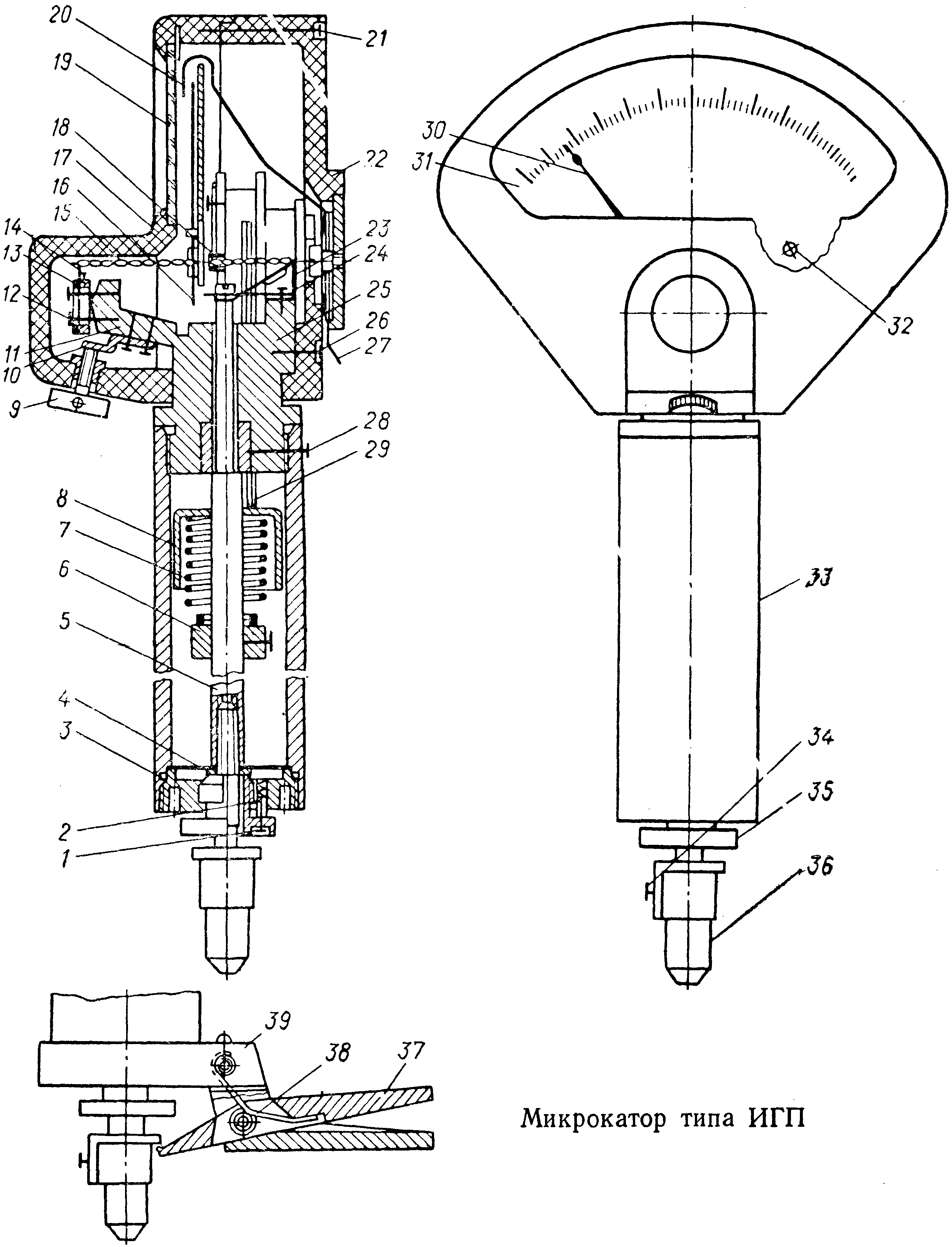
Перед началом работы измерительных пружинных головок необходимо отвернуть стопорную (фиксирующую) гайку 35. Перед транспортировкой гайка должна быть вновь завернута. При установке в приспособление головку нужно держать за корпус. Прикасаться к трубке 33 прибора не рекомендуется, так как после этого наблюдается длительная температурная стабилизация. Установка головки должна производиться бережно, без ударов, особенно по измерительному штоку 5. Лампу пружинно-оптических приборов необходимо включать за 20—30 мин до начала работы.
При работе желательно пользоваться арретиром 39, не допуская резких подъемов измерительного штока 5 и боковых ударов наконечника 36. Снимая и устанавливая наконечник, его необходимо передвигать только вдоль оси измерительного штока, предварительно отвернув винт 34 на самом наконечнике. Во избежание повреждения пружинной подвески не допускается поворот наконечника. В случае производства высокоточных измерений с погрешностью не превышающей 0,5 мкм, перед прибором желательно устанавливать теплоизолирующую шторку. Для протирки защитного стекла 19 стрелочных приборов рекомендуется пользоваться слегка влажной тканью. При протирке сухой тканью возникает статическое электричество и стеклянная стрелка 30 притягивается к стеклу 19. В процессе работы не рекомендуется касаться частей измерительной головки, особенно трубки 33, штока 5 и осветителя 6 оптикатора.
Негерметизированные приборы должны эксплуатироваться и храниться в футлярах только при нормальных условиях в помещении без химически активных примесей. Попадание влаги и масла на поверхность прибора не допускается.
В виду высокой чувствительности пружинного механизма при использовании приборов в положении, отличающемся от указанного в паспорте (как правило вертикального) и при длительном хранении приборов, необходимо провести дополнительную юстировку механизма в рабочем положении.
Для юстировки прибора отворачиваются винты 21 (рис. 1) и снимается крышка 17, отворачиваются винты 12 и, передвигая передний угольник 13, изменяется его рабочее плечо. Завернув винты 12 с разным натягом, поворачивают передний угольник 13 вокруг острия хобота 11 корпуса 25 таким образом, чтобы создать скрученной ленте предварительный натяг 1—1,5 оборота. Окончательную регулировку передаточного механизма осуществляют винтом 14. Юстировка производится по концевым мерам длины, предназначенным для поверки при температуре 20 ±1°С.
Отрегулировав общее передаточное отношение, проверяют градуировочную характеристику от среднего (как правило нулевого) штриха до крайних штрихов шкалы, оценивая таким образом «разноплечесть» показаний, т. е. разность между снятыми показаниями. «Разноплечесть», выходящую за допустимые нормы, устраняют поворотом шкалы 31 в сторону большего «плеча». При значительном смещении шкалы вновь осуществляют регулировку передаточного отношения.
После предварительной регулировки для снятия релаксации напряжений рекомендуется произвести обкатку прибора, после чего его окончательно отрегулировать. Интенсивность обкатки не должна превышать 150 циклов в минуту. При надевании крышки 17 необходимо следить за тем, чтобы винт 9 был отведен и не погнул планку 10.
При эксплуатации приборов встречаются следующие основные неисправности:
1. Стрелка или световой индекс не перемещаются по шкале в результате обрыва пружинной ленточки или других упругих элементов передаточного механизма.
2. Стеклянная стрелка микрокатора залипает в крайних положениях на графитовых стержнях.
3. Перегорела лампа оптикатора.
4. Загрязнилась оптическая система осветителя оптикатора.
5. Метрологические характеристики приборов вышли за паспортные нормы.
Для замены скрученной ленты 15, которая в большинстве приборов прикладывается в качестве запасной, снимают обе крышки 17 и 22. На передний 12 и задний 23 угольники накладывают ленту, чтобы перемычка находилась на расстоянии 20 мм от заднего торца корпуса 25. К концам ленты подвешивают грузики, после чего ленту припаивают к угольникам припоем с температурой плавления 80°С, не допуская перегрева пружинных элементов. К перемычке приклеивают стрелку или зеркало. К стрелке крепят шеллаковую бусинку 16. Шеллак наносят паяльником. Затем балансируют механизм, смещая зеркало 2 (рис. 2) или изменяя массу бусинки 16 (рис. 1). Величина дисбаланса при разных положениях приборов не должна превышать 0,2 цены деления. Шприцем заполняют поликсилоксановой жидкостью демпфер 18. Наличие поликсилоксановой жидкости в демпфере необходимо периодически проверять, так при транспортировке и эксплуатации прибора возможны утечки.
Прилипание стеклянной стрелки 30 к графитовым стержням 32 возникает вследствие образования конденсата. Это явление можно устранить выжиганием или обработкой стержней эфиром.
Для замены перегоревшей лампы 7 (рис. 2) необходимо отвернуть гайку 5, вынуть патрон 4 с лампой 7 и заменить лампу. Вставив патрон с лампой, подкрутить гайку 5. Покачивая патрон, добиться максимальной освещенности светового индекса на шкале 3, после чего окончательно затянуть гайку 5. Оптические детали осветителя можно прочищать навернутой на палочку ватой, смоченной в эфире или спирте. Для этого необходимо снять осветитель, отвернув винты, крепящие обойму 9 к кронштейну 11. При чистке оптических деталей и зеркала 2 необходимо соблюдать особую осторожность. После чистки оптики или замены лампы яркость светового индекса оптикатора, должна быть отрегулирована ручкой потенциометра, имеющейся на трансформаторе.
Метрологическая поверка пружинных головок типа ИГП производится по ГОСТ 8.248—77, оптикаторов — по ГОСТ 8.162—75, пружинных головок типа ИПМ — по ГОСТ 8.115—74, пружинных головок типа ИРП — по инструкции МИ 53—75.
Измерительное усилие и его перепад проверяются по шкале циферблатных весов с ценой деления 2 гс надавливанием измерительным наконечником на чашу весов при положениях указателя измерительного прибора в начале и конце шкалы.
Предел допускаемой погрешности и погрешность показаний проверяются в заданных паспортом точках шкалы парным методом по концевым мерам длины. С этой целью выбирается определенное число пар концевых мер длины, разность значений которых соответствует диапазону показаний по шкале.
Поверку размаха показаний производят одновременно с поверкой систематической составляющей путем многократного арретирования измерительного штока.

Рис. 3. Схема поверочного стенда типа СК-20
Для высокопроизводительной поверки систематической составляющей погрешности измерительных головок с ценой деления более 1 мкм на ЛИЗе применяется стенд типа ОК-20, схема которого представлена на рис. 3. При повороте микрометрического винта 9, контактирующего с шариком 6, поворачивается рычаг 5, закрепленный на пластинчатом кресте 12 и имеющий соотношение плеч 1:10. При этом перемещается промежуточный наконечник 3, подвешенный на плоских пружинах 4, который воздействует на наконечник измерительной головки 1, установленный в кронштейне 2. Наконечник 3 контактирует с шариком 11, измерительное усилие создается пружиной 7. На микрометрическом винте 9 закреплен лимб 8. На лимбе имеются пазы, куда входит подпружинный фиксатор 10. Пазы нанесены при тарировке стенда по образцовой измерительной головке в заданных точках поверки через номинальный интервал lн. Для поверки головка закрепляется в кронштейне 2. Указатель головки устанавливается на ноль. При этом фиксатор 10 западает в паз лимба 8 с нулевой отметкой. Повернув винт 9 до западания фиксатора в следующий паз лимба, по поверяемой головке 1 снимают отсчет li. Разность Δс = li — lн определяет систематическую составляющую погрешности.
В промышленности для поверки головок также применяются: клиновое устройство типа БВ-981, разработанное Бюро взаимозаменяемости (Москва), прибор ПКМ типа Сибирского государственного научно-исследовательского института метрологии, а для высокоточных головок могут быть использованы интерференционные установки, созданные во Всесоюзном научно-исследовательском институте метрологии им. Д. И. Менделеева.
Средства для линейных измерений
Б.М. Сорочкин, Ю.З. Тененбаум
А.П. Курочкин, Ю.Д. Виноградов
Ленинград "Машиностроение" 1978


Комментариев нет.